产品列表 / Product list

一、插卡电表概述
DDSY6111型电子式单相插卡预付费电表,采用集成电路设计,全自动表面贴装(SMT)生产工艺制造。电能表的线路设计和元器件选择以较大的环境允差为依据,可保证整机长期稳定工作,精度高、高过载、低功耗,内置磁保持继电器。通过控制继电器实现控制负载的通与断,实现督促用户先买电后用电的功能。
主要特点:应用计算机管理,先购电后用电;在额定电流范围内能使用功率(由供电部门限定);一表一卡,专卡专用,失卡不失电,补卡再用;电卡能双向传递数据,能自动断电告警用户购电;电量为零时,自动拉闸断电;并具有一定的防窃电软件设计等。
二、工作原理
1、工作原理图
电能表由分压器取得电压采样信号,分流器取得电流采样信号,经乘法器得到电压电流乘积信号,再经频率变换产生一个频率与电压电流乘积成正比的计数脉冲,通过分频,驱动步进电机计量电度。
2、数据处理
电能计量脉经光电耦合器送CPU处理,运算后存储于存储器中。由计算机管理信息系统,通过IC卡读写器,写入一定电量和监控要求的IC卡输入表内微处理器系统,经CPU运算后,提供显示、报警状态信号。
三、规格型号及技术参数:
1、规格型号
|
规格 型号 |
精度等级 |
电压规格 (V) |
电流规格(A) |
|
DDSY6111 |
2.0 |
220 |
5(20)、10(40)、15(60) 30(100)20(80) |
2、主要技术参数:
a、基本误差:
|
负载电流 |
功率因数 |
百分数误差限(%) |
|
0.05Ib≤I<0.1Ib |
1.0 |
±1.5 |
|
0.1Ib≤I≤Imax |
±1.0 |
|
|
0.1Ib≤I<0.2Ib |
0.5(滞后) 0.8(超前) |
±1.5 |
|
0.2Ib≤I≤Imax |
±1.0 |
b、电气参数(参比条件):
起动电流: 0.4 % Ib
功耗:电压线路<1.0W,3.0VA;
电流线路 < 1.0VA
潜动:具有逻辑防潜动电路
电压范围: 220V±10%
工作温度范围:-25℃~ +55℃
掉电数据存贮时间>20年
四、安装与使用
1、电表在出厂时经检验合格,并加封铅印,可安装使用,如无铅封或贮存过久,应请有关部门重新校验加封,方可安装使用。
2、电表应安装在干燥通风的地方,安装电表的底板应固定在坚固耐火,不易振动的墙上,电表高度约1.8m左右。
3、按图一、图二安装和接线,拧紧接线螺钉,并紧固端钮盒内连接板。
4、经互感器接入式电表其示数须乘以变比后,才是实际电能数。
5、一表一卡:用户持有的IC卡不能互换,遗失时应到供电部门(售电处)补购一张。
6、购电准备:购电前,用户须将IC卡插入卡座一次,便于将表内数据送回计算机数据库。
7、购电方式:售电时,将IC卡插入IC卡读写器,同时操作计算机,将用户编号、预购电量、报警电量、限容方式及限容功率等加密写入IC卡。
8、电卡使用:将购电卡插入卡座内,如是有效购电卡,则电表自动将数据读入表内,LCD(LED)表显示屏依次显示:购电量(P0== XXXX)、总购电量(P=XX XXXX)、购电次数(PC== XXXX)、报警电量(P1==XXXX)、赊欠限量(P2== XXXX)、限容功率(F0X= XX:XX)。拔卡请妥善保存。
9、运行显示:电表运行过程中,轮流显示表内剩余电量、总用电量。
10、超容报警:电表运行过程中,如果“报警指示灯”快速闪烁显示,则警告用户已超容用电。如该电表被设置为超容断电限容方式,则超容用电30秒后,将拉闸3分钟,并倒计时显示(180秒)恢复供电时间;如用户插卡响应可立即恢复供电。
11、 囤积限量:如果购电量+剩余电量>囤积限量(10000kWh),则购电量不读入,显示器显示“剩余限量”提示,卡内电量仍有效。
12、 预警提醒:当表内剩余电量小于“报警电量”的2倍时,“报警指示灯”将闪烁(间隔为1秒)显示提醒用户购电,此时如用户插卡响应,“报警指示灯”闪烁间隔变为2秒,可以避免断电警告。
13、 断电警告:如在预警提醒时用户未插卡响应,且设置超容报警,则当剩余电量为用户约定的报警电量(或本次购电量的10%)时,电表拉闸断电警告,显示“拉闸”提示符,此时将IC卡在卡座上插一次即恢复供电。如果拉闸后找不到本表IC卡,可借用邻居IC卡插入,以恢复供电。
14、 购电提醒:当表内剩余电量小于“报警电量”时,“报警指示灯”将常亮提醒。
15、 故障申报:剩余电量显示为零或负值时,显示“拉闸”提示符,如电表仍继续运行,用户应立即购电,并主动向供电部门反映情况。
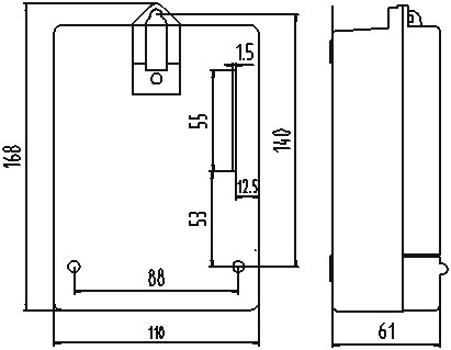
图一 外形图
图二 接线图

五、运输与贮存
1、表在运输和拆封时不应受到剧烈冲击。
2、 能表应保存在原包装内,环境温度为-25℃ ~ +55℃,相对湿度不超过85%,空气中无腐蚀性气体的环境中。电能表在货架上贮存时,整箱叠放高度不超过5箱,拆箱后单只包装的电能表叠放高度不超过10只。